
WRA-200電鍍黄瓜视频观看官网采用中心空氣與角空氣各自獨立控製,可遠程改變噴幅大小。
使用金屬性塗料等易於沉澱的塗料時,采用塗料可循環結構。
全國統一服務熱線
136-0027-0781
|
|
型 號 |
|||
|
項 目 |
WRA-200-122P(V) |
|||
|
名稱 |
大型 |
|||
|
塗料供給方法 |
壓送 |
|||
| 塗料噴嘴口徑 | mm |
1.2 |
||
| 噴塗距離 | mm |
250 |
||
|
噴塗空氣壓力 |
霧化空氣0.24{2.4} |
|||
|
|
噴幅空氣0.26{2.7} |
|||
|
槍帽內壓力 |
- |
|||
| 空氣使用量 | l/min |
270 |
530 |
500 |
| 塗料噴出量 | ml/min |
150 |
500 |
500 |
| 噴幅 | mm |
190 |
400 |
300 |
|
適用空氣槍帽的型號 |
E2P |
G2P |
G2 |
|
| 所用空壓機 | kW |
1.5 |
2.2~3.7 |
|
| 重量 | g |
300 |
325 |
325 |
|
用途 |
小件噴塗用 |
大件噴塗用 |
||


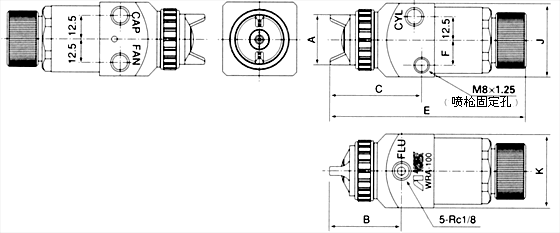
|
型 號 |
A |
B |
C |
D(φ) |
E |
F |
G |
H |
J |
K |
|
WRA-100 |
27 |
40 |
51 |
- |
109 |
14.5 |
- |
- |
40 |
40 |
|
WRA-200 |
30.5 |
48 |
56 |
- |
111 |
14.5 |
- |
- |
40 |
40 |
|
LRA-200 |
30.5 |
48 |
56 |
- |
111 |
14.5 |
- |
- |
40 |
40 |